在轴测图上放置 3D 尺寸
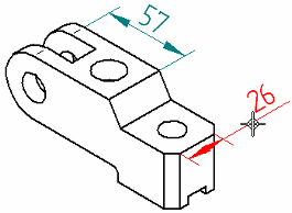
您可以在轴测图中放置 3D 尺寸(即:使用相关模型确定真实距离的尺寸),而不是 2D 图纸上的空间。可将线性、径向或角度“智能尺寸”作为 3D 尺寸放置。
在图纸未链接或过时的时候,您将无法放置 3D 尺寸。
可使用“图纸视图属性”对话框的“常规”页面中的“在轴测图中创建 3D 尺寸”复选框打开和关闭 3D 尺寸功能。默认情况下,轴测图的 3D 尺寸是启用的。
-
单击“智能尺寸”按钮。
-
单击某个元素。
-
此命令根据您选择的元素类型确定要放置的尺寸的类型,并以动态方式显示尺寸,以便您可以对其进行定位。
-
可以使用命令条上的“长度”和“角度”按钮在线性尺寸和角度尺寸之间切换。
-
也可使用 A 键放置角度尺寸。
-
-
执行以下操作之一:
-
(标注一个元素的尺寸)通过移动光标可根据需要定位尺寸。如果正在对线性元素标注尺寸,还可使用 N 和 B 键,在可用于放置尺寸的平面之间切换。
如果满意,可单击以放置它。
-
(在元素之间标注尺寸)选择要在两个元素之间标注距离尺寸的另一个元素,然后定位尺寸并单击以放置它。
-
提示:
-
可以通过按住 SHIFT 并拖拽尺寸延伸线来重新定位尺寸。这样就给出了“3D”延伸线的效果。
-
在放置角度尺寸过程中,可以使用 CTRL 键或命令条上的“优角-劣角”按钮来显示余角。
-
3D 尺寸需要更长的处理时间,并可能会影响系统性能,具体取决于模型大小和复杂度。
